苹果 XR 头显专利曝光
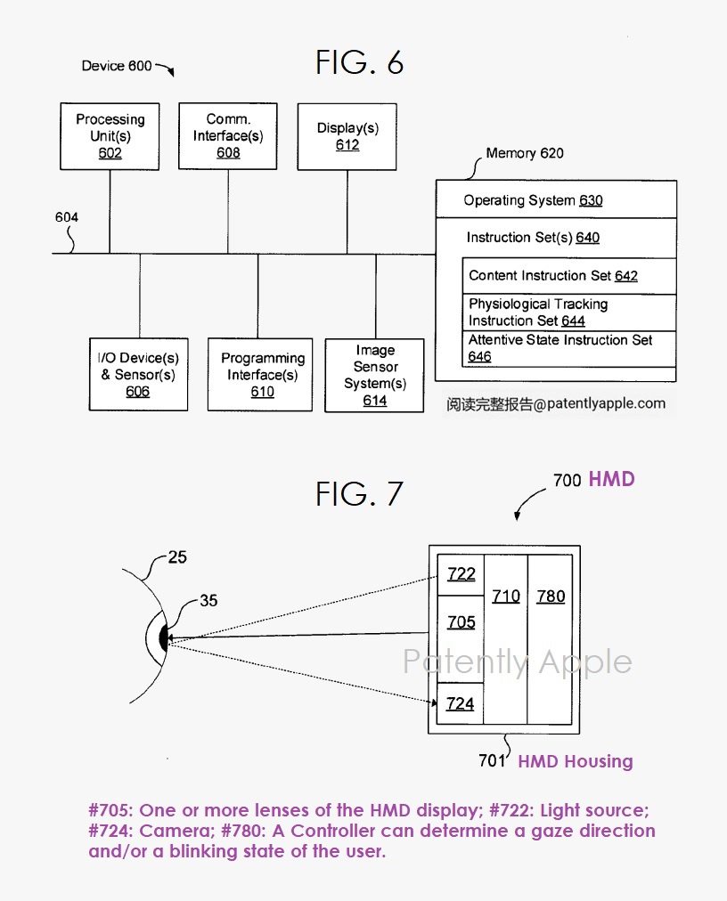
4 月 29 日消息,根据欧洲专利监管机构公示的清单,苹果公司于今年 4 月 12 日获得了名为“基于眼睛注视的生物反馈”专利,可以确认 XR 头显佩戴者的注意力情况。

苹果在专利中表示,头显佩戴者在扩展现实(XR)环境中,在进行观看教育或娱乐内容、冥想、学习新技能和阅读文档等场景下,需要保持专注、提高参与度,这样才有意义。

苹果通过传感器,生理数据(例如,凝视特征)、用户对内容的响应时间等因素,来确定 XR 头显佩戴者的注意力情况。

上一篇:微软必应聊天周报:改进旅行和食谱答案
下一篇:没有了

2023-04-29 08:53:32