小米申请“雷军超大杯”、“XL CUP”等商标!
21 日消息 小米自去年推出小米 10 Ultra 后,超大杯一词便在这个行业内火了起来。当然,这个词并非小米首创,但广大米粉用户热情高涨纷纷,大量用户开始以“超大杯”代指某系列产品中的顶配款,后成业界通识。
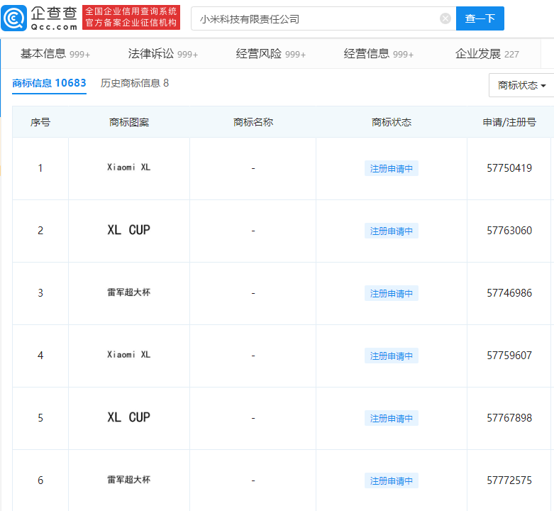
查询企查查 App 发现,近日,小米科技有限责任公司申请注册“雷军超大杯”商标,国际分类涉 25 类 服装鞋帽、16 类 办公用品等,目前商标状态为注册申请中。

据悉,雷军曾发起投票:小米 11 超大杯建议叫什么?有网友表示“雷军超大杯”更好。


上一篇:Netflix 解读 Q2 财报:期待手游取得成功
下一篇:没有了

2021-07-21 21:43:19