苹果公司最新专利技术曝光 汽车空调系统将迎来巨变
日前,美国专利商标局批准了苹果公司一项新的专利申请,该项专利名为:Climate control system with slit-vent fluid delivery(带有狭缝气体传输的空调控制系统)。这项专利向我们展示了苹果公司对于车内空调系统的改进,同时外媒报道称这项专利还设置了可变的香氛系统。
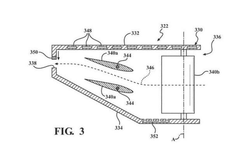
从相对应的专利申报图来看,苹果公司设计的这项空调专利拥有狭长的外观造型,如果未来投入运用,预计其将被设置在副驾驶前方的中控台部位。具体来看,此项专利更像是一种新型设计的空调管路系统,而内部含有横向和纵向的叶片可用于导风。这种设计不同于传统外置叶片的空调出风口,预计这样的叶片也可通过车机等方式进行控制。
与此同时,这样的设计在车内的设计也能够更加隐蔽,同时更高的导风效率也可能让空调在更短的时间内起效。此外,根据外媒的报道,苹果还为这个“创新”的空调设计加入了可变的香氛设计,预计这一功能的控制未来也将融入车机系统。在玩够了音响带来的听觉体验和氛围灯带来的视觉体验后,苹果又创新的开始改善车内乘客的嗅觉体验了?听上去很有意思。
除此之外,苹果公司已经在汽车技术领域申请了多项专利,包含种类繁多的车内配备,包括:多分段式天窗、可突出道路危险的前大灯系统、用于车内照明的TrueTone技术、乘客智能安全带以及车门力反馈铰链等等,使得我们对于未来汽车有了更加丰富的畅想。

2020-09-10 21:26:26