从70个零件减少到1个,Model Y车身将改为整体铸件,考虑过修吗?
知道电动车的人,应该没有人不知道特斯拉吧?甚至稍微了解一点的人,都会知道特斯拉的CEO是马斯克。
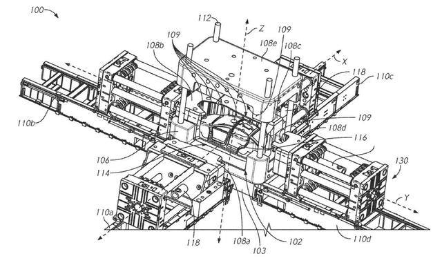
此前,特斯拉首席执行官埃隆·马斯克就表示,特斯拉正在转向铝铸件设计,而不是像现在的Model Y一样车身使用一系列冲压钢件和铝件。甚至说:“当我们获得大型铸造机时,车身将从70个零件减少到1个,这会减少所有机器将这些零件组装在一起的资本支出。”
一个最会打嘴炮的人,实现的东西也不少。就比如铝铸件设计的车身,特斯拉已经在干了,而且就是在Model Y上。甚至,马斯克虽说的大型铸造机的专利,特斯拉于2018年1月18日就已经在美国申请专利。
?
此前特斯拉分享了一些加利福尼亚州Fremont市Model Y生产线的图片,这些图片展示了用于制造Model Y的大型车身零件,现在基本上可以确认的是,特斯拉Model Y真的就这么干了!
?
而且,专利上的大型住在机,似乎也实现了,并且已经开始生产零件了。
?
说到这里,大家可能还是很MB,不是说的“将70个零件减少到1个”吗?
汽车零件远远不止70个,这里所说的70个应该指的是诸如地板总成、或者侧围总成钣金件的数量。当然,更不是整个白车身就一个零件,还是需要组装而成的。
原本多个零件,现在特斯拉将其“合N为1”,好处很明显,比如整车的扭转刚度、实现更好的轻量化系数,同时也减少了钣金异响发生的可能。
在成本方面,笔者个人认为不会省出太多。虽然组装这些零件的整体支出会减少,人工成本也会降低,但是制造这些零件的成本将会显著增加。所以,论综合成本,特斯拉不说,谁也不会知道的。
?
特斯拉非要这么干,原因很简单:之前Model 3设计的时候,因为后车身的零部件设计过于复杂,导致组装的时候工序繁多,加之零件过多,导致费时费力且生产效率极低,甚至网传马斯克炒了Model 3的车身设计师。
?
而Model Y主要是对Model 3的设计和工艺进行了优化,两款车有很多部件都是公用的,但是并不能共线生产,因为Model Y删减了其中一些不必要的设计和工艺,还引入了全新的线束设计专利,使得车内线束大幅度减少。
因此,特斯拉如此激进,应该和产能方面也有一定的联系。
虽然整体铝铸件设计好处多,但劣势也不少。
比如工艺难度大,零件不良率可能会因此提升,一次性压铸成形,只有有一边或者一角出现问题,那么这一整块就没用了。当然,高良品率都是通过不断试错出来的。
?
再就是针对普通消费者而言,维修成本高了,对维修人员来说,维修难度也打了。没有谁能保证自己不会出错,就算你乖乖开车,也保不准别人会疏忽犯错影响到你,磕磕碰碰是难免的。万一出现碰撞,那么换的可不是平常的“一个零件”,而是“N个零件组合在一起的一个零件”。
?
因此,维修成本不是高可以形容的,应该用“非常高”形容(土豪另算)。

2020-03-16 19:56:21