AirPower复活?苹果申请无线电专利曝光!
苹果在2017年秋季发布会上,向用户介绍了一款名为AirPower的无线充电配件,并表示该配件预计将于2018年正式推出。不幸的是,苹果后来取消了这个产品,原因好像是苹果在开发过程中无法解决多设备充电的发热问题。
苹果还是很机智的,在自家官网上架了两款第三方无线充电设备,它们均来自Mophie,一款是Dual Charging base,可以同时为两台设备充电,最大输出功率为7.5W;另一款则是Mophie三合一充电座,包含两个Qi充电位置,以及一个Apple Watch充电座。 现在,苹果申请了新的无线电专利,貌似在研究新一代的无线充电设备。
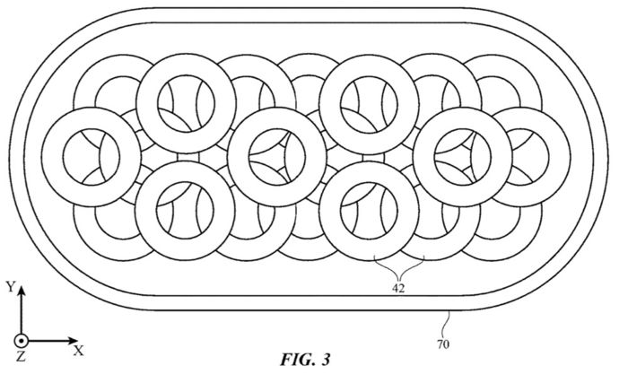
从图片上可以看出,外观和AirPower十分相似。其内置了充电线圈和相应的整流器电路,用于从位于接收线圈附近的无线充电垫中的线圈接收无线交流(AC)电力。整流器将接收的AC电力转换为直流(DC)电力。
怎么说呢,苹果在电池以及快充这方面一直都不是很给力,依然是18W,电池容量3500mAh都不到。
现在国内厂商旗舰机基本上标配4000mAh以上的电池,最低支持27W快充。苹果在这一方面貌似已经落后了。
根据此前消息,苹果取消AirPower的原因在于难以达到自己的标准。苹果在AirPower里同时放入了三个3D无线感应线圈,并要求识别不同的无线充电设备,提供不同的输出功率,有限的空间不利于散热,所以取消了AirPower。
这样看来,苹果并非无线充电设备做不出来,而是对产品要求太高了,没有找到合适的解决方法。苹果只是想要用户得到更好的体验,不想做出一个半成品来危害用户,这是对用户负责。
不过,苹果确实应该在电池和快充方面多下点功夫了,手机续航和充电,现在已经成为了用户们所关心的问题,希望苹果多去聆听用户的建议,做出更好的产品。
【来源:雷科技】【作者:MoFirLee】

2019-09-04 09:32:14