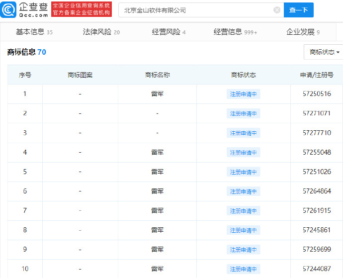
金山软件申请“雷军”商标
13 日消息 信息显示,近日,北京金山软件有限公司申请注册多个“雷军”商标,国际分类涉 39 类 运输贮藏、40 类 材料加工 等。企查查显示,目前该公司已完成了 45 个雷军商标注册。


,今年是雷军出任金山集团董事长的第十年,雷军近期表示,为金山集团所有在职正式员工准备了“特殊的纪念品”,赠予金山员工每人 600 股股票。

雷军还表示,2021 年是金山全面转型移动互联网的第十年,这十年里,金山从 2010 年收入不到 10 亿,到 2020 年合并收入达 120 亿,这是金山同事们共同努力的丰硕成果。

2021-07-13 23:53:33