微软新专利曝光:拥有震动反馈的VR地毯

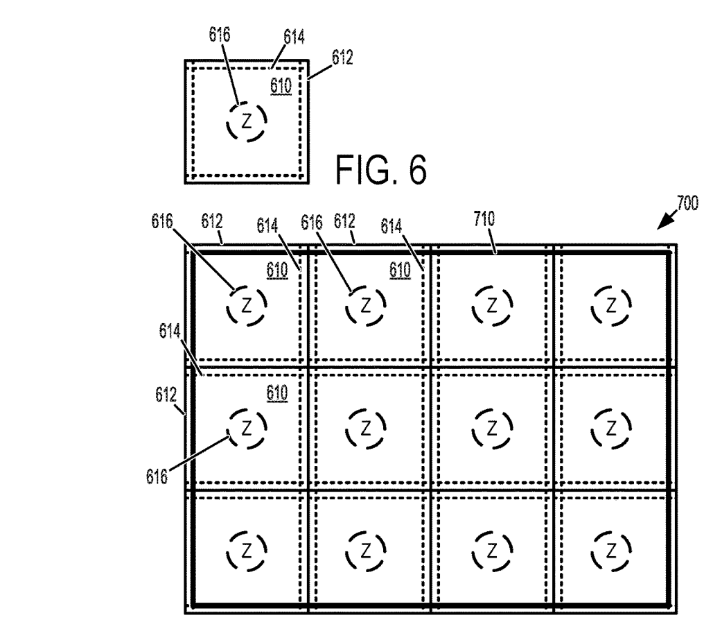
专利示意图
据悉,这款地毯可以有效地提升玩家们的VR游戏体验,让玩家们获得更为出色的临场感;此外,它还能帮助玩家了解到在自己目前的所处位置,以防因为玩游戏过于兴奋,而撞上家中的其他物品。很多VR玩家也会在自己家中铺置橡胶地毯以保障自己的安全,微软的这项专利从某种程度上也可以达到与之类似的效果。

地毯中设置有压力感应器
不过值得一提的是,目前微软旗下的Xbox主机并不支持VR设备,这也许意味着微软打算在未来让Xbox也加入到VR阵营中。
相关文章
-
李开复:未来几年,中国最赚钱的工作是什么?
文章来源:老铁商城2019-10-29 -
2019年全球十大突破性技术
文章来源:老铁商城2019-10-29 -
科学家为什么钟情艺术?因为数学和绘画、音乐有相似的美感
文章来源:老铁商城2019-10-20 -
价格上涨“劝退”用户,奈飞为何逆流而行?
文章来源:老铁商城2019-10-18 -
王思聪“股权遭冻结”又上热搜!王健林当初给的“练手资金”还好吗?
文章来源:老铁商城2019-10-18 -
滴滴宣布开放城市交通指数数据集 助力交通领域科研发展
文章来源:老铁商城2019-10-18 -
A16Z合伙人:那些“连错都谈不上”的技术预测
文章来源:老铁商城2019-10-18

2019-10-06 18:50:14