百度败诉,判赔6元!因为词条里……
因认为百度用户在“百度百科”上对其已故父亲词条的编辑行为侵犯其父名誉,原告赵某某遂将平台方百度公司诉至北京互联网法院。
今天(8月21日)上午,北京互联网法院判决认定百度公司构成侵权,应向赵某赔礼道歉、消除影响并赔偿6元精神损害抚慰金。

百度:无事先审查义务
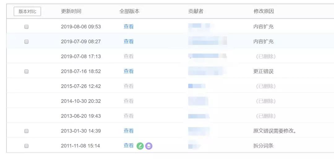
法庭上,原告赵某某诉称:2013年1月、6月,百度用户对赵某某父亲的“百度百科”词条进行两次编辑,删除其父代表作,并添加侮辱性字句。经“百度百科”编辑审核发布并保留至2018年7月;其父代表作一直未恢复。

百度百科该词条编辑记录
赵某某认为该行为侵害其父及家人的名誉权,百度公司对词条编辑的审核存在过错。

被告百度公司则辩称,百度公司并非涉案文章的发布者和提供者,不知道也没有能力事先知道涉案文章存在于涉案的网络产品中,现行法律也没有课以网络服务提供者事先审查义务。作为网络服务提供者,百度公司已经履行了事前提示和事后监管的法定义务。

法院:百度应采取措施加以规制
北京互联网法院审理后认为,在用户创造、编辑词条过程中涉及的知识共享及观点表达,存在引发侵权的风险。作为“百度百科”的管理者,百度公司应当具备预防上述风险发生的意识,并应当根据其能力采取必要、合理的措施加以规制。
本案中涉案百度用户对涉案词条进行两次编辑,均未提供任何参考资料,修改原因缺乏客观依据,但均短时间通过。说明百度公司未通过有效措施对人物类词条编辑存在的风险加以预防和控制。
北京互联网法院提醒:网络百科不仅向互联网用户提供信息存储空间,基于词条侵权风险以及网络用户信赖,应当对词条内容的真实性、客观性、权威性尽到主动审核义务。
相关文章
-
李开复:未来几年,中国最赚钱的工作是什么?
文章来源:老铁商城2019-10-29 -
2019年全球十大突破性技术
文章来源:老铁商城2019-10-29 -
科学家为什么钟情艺术?因为数学和绘画、音乐有相似的美感
文章来源:老铁商城2019-10-20 -
价格上涨“劝退”用户,奈飞为何逆流而行?
文章来源:老铁商城2019-10-18 -
王思聪“股权遭冻结”又上热搜!王健林当初给的“练手资金”还好吗?
文章来源:老铁商城2019-10-18 -
滴滴宣布开放城市交通指数数据集 助力交通领域科研发展
文章来源:老铁商城2019-10-18 -
A16Z合伙人:那些“连错都谈不上”的技术预测
文章来源:老铁商城2019-10-18

2019-08-22 16:40:00